Папярэджанне: Працуйце з паліўнымі фарсункамі лімітава асцярожна. Ніколі не падстаўляйце рукі ці любыя іншыя часткі цела пад брую фарсункі, бо дзякуючы высокаму працоўнаму ціску бруя паліва можа пракрасціся праз скуру, што прывядзе да фатальных наступстваў. Настойліва рэкамендуецца выкананне ўсіх прац, злучаных з праверкай спраўнасці фарсунак пад ціскам, даручыць адмыслоўцу па сістэмах упырску паліва ці дылеру.
Праверка
1. Фарсункі зношваюцца пры працяглай эксплуатацыі, і разумна чакаць, што яны будуць мець патрЭБУ ў рамонце ці замене пасля 100 000 км прабегу. Дакладную праверку спраўнасці, пераборку і каліброўку фарсунак неабходна даручыць адмыслоўцу. Дэфектную фарсунку, якая можа быць прычынай дэтанацыі ці дымления, можна вызначыць без разборкі наступным чынам.
2. Запусціце рухавік, усталюйце рэжым паскоранага халастога ходу. Па чарзе паступова прыслабце злучальную муфту на кожнай фарсунцы. Калі будзе аслаблена злучальная муфта на дэфектнай фарсунцы, дэтанацыя ці дымление павінны спыніцца.
Зняцце
3. Акуратна ачысціце вобласць вакол фарсунак і злучальных гаек трубак фарсунак.
4. Адлучыце трубкі, якія адводзяць ад фарсунак (гл. ілюстрацыю).
16.4. Адлучыце адводзяць трубкі ад топ піўных фарсунак.
5. Адкруціце злучальныя гайкі, якія мацуюць трубкі фарсунак да паліўнай помпы высокага ціску. Зачыніце адчыненыя злучальныя муфты, каб не дапусціць пранікненні бруду.
6. Адкруціце гайкі, і адлучыце трубкі ад фарсунак (гл. ілюстрацыю).
16.6. Адлучыце паліваправоды ад фарсунак.
Калі неабходна, трубкі можна выдаліць поўнасцю. Заўважце месцазнаходжанне клямараў, прымацаваных да трубак. Закрыйце канцы фарсунак, каб прадухіліць пранікненне бруду.
7. Адкруціце фарсункі з дапамогай глыбокага гнязда або накіднога ключа (27 мм) і зніміце іх з галоўкі блока цыліндраў (гл. ілюстрацыі).
16.7а. Паліўная фарсунка ў разрэзе: 1 - Паліўная фарсунка; 2 - Медная шайба; 3 - Утулка; 4 - Ушчыльняльная вогнетрывалая шайба; 5 - Свечка напальвання.
16.7b. Адкруціце фарсункі...
16.7с....і дастаньце іх з галоўкі блока цыліндраў.
8. Прыбярыце медныя шайбы і вогнетрывалыя шайбы з галоўкі блока цыліндраў. Таксама прыбярыце ўтулкі, калі яны вольныя (гл. ілюстрацыі).
16/08а. Прыбярыце медныя шайбы...
16.8b....і ўшчыльняльныя вогнетрывалыя шайбы.
Ўстаноўка
9. Набудзьце новыя медныя і вогнетрывалыя шайбы. Таксама заменіце ўтулкі, калі яны пашкоджаны.
10. Старайцеся не губляць фарсункі. Таксама не заціскайце іх у варштатных цісках.
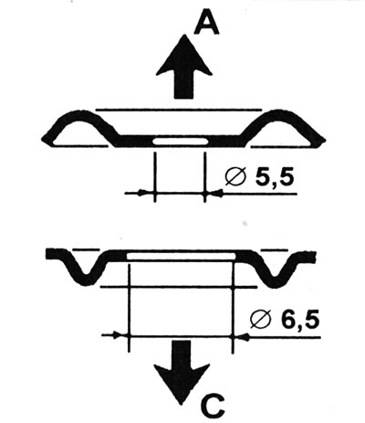
11. Пачніце ўстаноўку, устаўляючы ўтулкі (калі выдаленыя) у галоўку блока цыліндраў. Усталюеце новыя вогнетрывалыя шайбы ў галоўку блока цыліндраў. Звернеце ўвагу, што гэтыя шайбы павінны ўсталёўвацца выпуклым бокам уніз (да галоўкі блока цыліндраў) (гл. ілюстрацыю).
16.11. Арыентацыя вогнетрывалай шайбы пры ўстаноўцы: А - Шайба ранняй мадыфікацыі - выпуклы бок уверх; З - Шайба позняй мадыфікацыі - выпуклы бок уніз.
12. Усталюйце новыя медныя шайбы ў галоўку блока цыліндраў.
13. Устаўце фарсункі, і зацісніце іх намаганнем зацяжкі, рэгламентаваным Спецыфікацыямі.
14. Усталюйце трубкі фарсунак і надзейна зацісніце злучальныя гайкі. Размясціце клямкі на трубках так, як было адзначана перад здыманнем.
15. Падлучыце якія адводзяць трубкі.
16. Запусціць рухавік. Калі зрабіць гэта не ўдаецца, прапампуйце паліўную сістэму, гл. Главу 7.
