Сістэма адцяжкі паліўных пар
1. Сістэма адцяжкі паліўных пар прызначана для мінімізацыі вылучэння паліўнай пары. Вечка заліўной гарлавіны паліўнага бака і шлангі з'яўляюцца часткай гэтай сістэмы. Астатнія часткі сістэмы могуць адрознівацца ў залежнасці ад мадэлі (гл. ілюстрацыю).
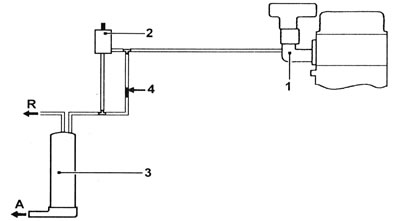
1.1 Тыповае размяшчэнне кампанентаў сістэмы адцяжкі паліўных пар - рухавік F3P з цэнтральным упырскам паліва: 1 - Впускны калектар; 2 - Электрамагнітны клапан; 3 - Вугальная каністра; 4 - Абмежавальнік; А - Дэфлектар; R - Труба ад паліўнага бака.
Карбюратарныя рухавікі
2. Карбюратарныя мадэлі абсталяваны аддзяліцелем і назапашвальнікам пары.
3. Паліўная пара, які ўтворыцца ў поплавковой камеры карбюратара пры заглушаным рухавіку, збіраецца ў назапашвальніку пары. Улоўнік перахапляе пар, які ўтвараецца ў які падае паліваправодзе, і вяртае яго ў паліўны бак.
Сістэмы ўпырску паліва рухавікоў D-серыі
4. Паліўная пара збіраецца ў каністры, усталяванай пад правай фарай. Пры які працуе рухавіку пар падаецца ва впускной калектар. Электрамагнітны клапан на пярэднім левым баку рухавіка кіруе ачысткай вугальнай каністры.
Сістэмы ўпырску паліва рухавікоў Е-серыі
5. Паліўная пара збіраецца ў каністры, усталяванай пад правай фарай.
Пры які працуе рухавіку пар падаецца ва впускной калектар. Электрамагнітны клапан на пярэднім левым баку рухавіка кіруе ачысткай вугальнай каністры.
Рухавікі F3P і F7P (з 16 клапанамі)
6. Сістэма аналагічная апісанай вышэй для рухавікоў Е-серыі, але ў ёй яшчэ прымяняецца абмежавальнік (ці абмежавальнікі, у залежнасці ад мадэлі). Электрамагнітны клапан знаходзіцца за правай фарай.
Сістэма нейтралізацыі картэрных газаў
7. Сістэма забяспечвае наяўнасць разрэджання ў картэры, дзякуючы якому прадухіляецца алейнае забруджванне, уцечкі дыму і маслы праз сальнікі.
8. Размяшчэнне кампанентаў сістэмы вентыляцыі картэра можа адрознівацца ў залежнасці ад тыпу рухавіка (гл. ілюстрацыі).
1.8а. Шлангі вентыляцыі картэра і абмежавальнік - рухавік З-серыі.
1.8b. Шлангі вентыляцыі картэра і абмежавальнікі - рухавікі Е-серыі.
1.8с. Шлангі вентыляцыі картэра і абмежавальнікі - рухавік F7Р (з 16 клапанамі): 1 - Клапанае вечка; 2 - Шланг (ад дросельнай засланкі); 3 - Шланг (да дросельнай засланкі); 4 - Впускны калектар; 5 - Абмежавальнік (дыяметр 1.7 мм); 6 - Абмежавальнік (дыяметр 5.5 мм).
9. Калі рухавік працуе на халастым ходу або пры частковай нагрузцы, з-за высокага разрэджання ва впускным калектары картэрныя газы адсмоктваюцца праз калібраваны абмежавальнік у камеры згарання.
10. Шлангі вентыляцыі картэра і абмежавальнікі неабходна перыядычна чысціць, каб забяспечыць правільнае функцыянаванне сістэмы.
Сістэма нейтралізацыі выхлапных газаў
11. Усе мадэлі з упырскам паліва, акрамя ранніх з рухавіком F7P (з 16 клапанамі), абсталяваны датчыкам кіслароду і каталітычным канвертарам. З дапамогай гэтых кампанентаў дасягаецца вельмі нізкі ўзровень таксічных прымешак у выхлапным газе.
12. Датчык кіслароду таксама вядомы як "лямбда" датчык (назва паходзіць ад сімвала, які выкарыстоўваецца для абазначэння суадносін палівапаветранай сумесі) знаходзіцца ў якая адводзіць выхлапной трубе. Ад яго паступае сігнал у працэсарны блок сістэмы ўпырску. Гэты сігнал змяняецца ў залежнасці ад утрымання кіслароду ў выхлапным газе. Працэсар выкарыстоўвае сігнал для вылічэння колькасці паліва, якое павінна быць упырснуць для забеспячэння эфектыўнага згарання і нізкага ўзроўню эмісіі.
13. Датчык кіслароду змяшчае электрычны награвальнік, які запатрабуецца пры ўключэнні запальвання. Такім чынам датчык хутка выграваецца да працоўнай тэмпературы (больш 250°C), і на працягу прагрэву памяншаецца колькасць выкідаў.
14. Каталітычны канвэртар знаходзіцца ў выхлапной сістэме ў канцы якая адводзіць выхлапной трубы. Ён змяшчае керамічны элемент, пакрыты складам з каштоўнага металу. Гэты склад дзейнічае як каталізатар, спрыяючы пераўтварэнню вокісу вугляроду (СА) у вуглякіслы газ (CO₂), і неспаленых вуглевадародаў (НС₂) у ваду і вуглякіслы газ (Н₂ Аб і CO₂).
Каталітычны канвэртар - засцярогі
15. Каталітычны канвэртар - надзейная і простая прылада, якое не мае патрэбы ні ў якім абслугоўванні само па сабе, але маюцца некаторыя рэкамендацыі, якія аўтааматар павінен выконваць, каб канвэртар функцыянаваў належным чынам на працягу ўсяго тэрміна службы.
Бензінавыя мадэлі
a) НЕ выкарыстоўвайце этыляваны бензін на аўтамабілі, абсталяваным каталітычным канвертарам, гэта паменшыць эфектыўнасць пераўтварэння і ў канчатковым рахунку прывядзе да паломкі канвертара.
b) Заўсёды падтрымлівайце сістэму запальвання і паліўную сістэму ў добрым стане.
с) Калі рухавік прапускае запальванне, не эксплуатуйце аўтамабіль зусім (ці прынамсі наколькі магчыма менш) пакуль не ўхіліце пашкоджанне.
d) НЕ спрабуйце запускаць аўтамабіль з буксіра - каталітычны канвэртар прахарчуецца незгарэлым палівам, што можа быць прычынай перагрэву пасля запуску рухавіка.
е) НЕ выключайце запальванне на высокіх абаротах рухавіка.
f) НЕ выкарыстоўвайце асадкі для паліва або маторнага масла - яны могуць змяшчаць рэчывы, шкодныя для каталітычнага канвертара.
g) НЕ эксплуатуйце аўтамабіль, калі заўважана, што рухавік спальвае алей (блакітны дым).
h) Памятайце, што каталітычны канвэртар працуе пры вельмі высокіх тэмпературах. НЕ паркуйце аўтамабіль на сухім лісці, доўгай траве.
I) Памятайце, што каталітычны канвэртар ХРУПАК - не ўдараюць па ім інструментамі на працягу абслугоўвання.
j) У некаторых выпадках з выхлапной сістэмы можа адчувацца пах серавадароду (падобна паху тухлых яек): Гэта нармальна для многіх аўтамабіляў, абсталяваных каталітычным канвертарам. Пасля некалькіх тысяч кіламетраў прабегу праблема павінна знікнуць.
k) Тэрмін эксплуатацыі каталітычнага канвертара на добра абслугоўваным аўтамабілі павінен доўжыцца каля 80 000 і 160 000 кіламетраў - калі паменшана эфектыўнасць пераўтваральніка, заменіце яго.
Дызельныя мадэлі
Глядзіце інфармацыю, дадзеную вышэй у пунктах f, g, h і i для мадэляў з бензінавага рухавіка.
