Заўвага: Гэтая працэдура дастасавальна толькі да рухавікоў з карбюратарам або сістэмай цэнтральнага ўпырску паліва.
1. Для эфектыўнай працы рухавіка, тэмпература які паступае ва ўпускную сістэму паветра павінна падтрымлівацца на некаторым узроўні. (Гэта не ставіцца да рухавікоў з сістэмай размеркаванага ўпырску паліва, на якіх сістэма кампенсуе змены тэмпературы паветра).
2. Паветраны фільтр мае дзве крыніцы паветра, адзін - звонку маторнага адсека (халоднае паветра), і іншы - з кажуха на выпускным калектары (прагрэтае паветра). Васковы тэрмастат кіруе засланкай усярэдзіне ўваходнага паветравода. Калі навакольная тэмпература паветра ніжэй вызначанага ўзроўня, засланка накіроўвае цёплае паветра ад кажуха выпускнога калектара. Па меры павышэння тэмпературы навакольнага паветра засланка адчыняецца, і пачынае прапускаць халоднае паветра звонку аўтамабіля.
3. Сістэма рэгулявання тэмпературы паказана на суправаджаючых ілюстрацыях (гл. ілюстрацыі).
25.3а Сістэма рэгулявання тэмпературы паветра -рухавікі З- і Е-серый: А - Халоднае ўваходнае паветра; У - Гарачае ўваходнае паветра; З - Засланка кіравання; D - Да карбюратара; 2 - Тэрмастат.
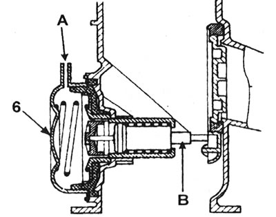
25.3b Сістэма рэгулявання тэмпературы паветра - рухавік F3Р:А - Да вакуумнай капсулы; У - Ад впускного калектара; 1 - Выпускны калектар; 2 - Впускны калектар; 3 - Вечка паветразаборніка; 5 - Паветраны фільтр; 6 - Тэрмастат/вакуумная капсула; 7 - Халоднае ўваходнае паветра; 8 - Гарачае ўваходнае паветра; 9 - Злучэнне вакууму калектара.
Усе рухавікі акрамя F3P
4. Каб праверыць сістэму, зніміце кажух паветранага фільтра як апісана ў адпаведнай Частцы Раздзела 4, адлучыце блок рэгулявання тэмпературы і пагрузіце яго ў лядоўню ваду (тэмпература не больш 20°C). Не больш за праз 5 хвілін засланка павінна перакрыць канал халоднага паветра. Зараз павялічце тэмпературу вады да 40°C, засланка павінна перакрыць канал гарачага паветра. Калі засланка працуе не правільна, спачатку праверце, каб яна не была захоплена. Адрэгуляваць засланку не магчыма; у выпадку няспраўнасці блок варта замяніць.
Рухавік F3P
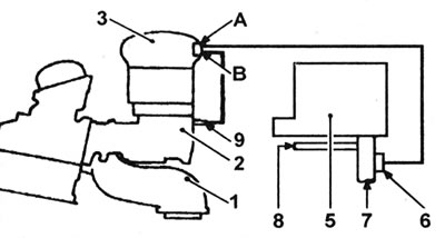
5. Гэтая сістэма адрозніваецца тым, што становішча засланкі вызначаецца не толькі тэмпературай, але і вакуумам ва впускным калектары. Аб'яднаны блок тэрмастата і вакуумнай капсулы ва ўваходным паветраводе паветранага фільтра перакрывае канал халоднага паветра пры тэмпературах ніжэй за -10°C, і перакрывае канал гарачага паветра пры тэмпературах вышэй за +20°C. Аднак, пры высокім разрэджанні ў калектары (больш за 200 мбар) канал халоднага паветра будзе зноў зачынены пры тэмпературах да 35°C. Пры тэмпературы вышэй 35°C падача вакууму да капсулы перарываецца клапанам тэрмастата, усталяваным у вечку паветразаборніка, і канал гарачага паветра зачыняецца (гл. ілюстрацыю).
25.5 Схема термоуправляемого вакуумнага клапана: А - Да вакуумнай капсулы; У - Ад впускнога калектара; З - Шарык клапана; D - Біметалічная пласціна.
6. Праверка гэтай сістэмы для аўтааматара вельмі складаная; пачніце з агляду ўсіх вакуумных шлангаў.
7. Тэрмастат і вакуумную капсулу можна праверыць як апісана для сістэмы цэнтральнага ўпырску, але для праверкі спрацоўвання блока пры нізкай тэмпературы змесціце яго ў маразільнік (гл. ілюстрацыю), а для праверкі спрацоўвання пры высокай тэмпературы прагрэйце яго электрафенам.
25.7 Схема тэрмастата/вакуумнай капсулы (6): А - Ад вакуумнага клапана; У - Тэрмастат.
8. Каб праверыць функцыянаванне клапана тэрмастата, адлучыце шланг з боку калектара. Далучыце кавалак пластмасавага або гумовага шланга да клапана і стварыце ў ім вакуум, выкарыстоўваючы ручную помпу. Пры тэмпературы клапана ніжэй за 35°C разрэджанне павінна перамясціць засланку, закрываючы канал халоднага паветра. Пры больш высокіх тэмпературах вакуум не павінен уплываць. Рух засланкі нельга заўважыць з усталяваным паветраным фільтрам, але яе можна пачуць.
