Праверка спраўнасці
1. Выканайце праверку ціску як апісана ў папярэдняй Кіраўніку.
2. Адлучыце зваротную паліўную трубку ад корпуса дроселя. Далучыце кавалак шланга да зваротнай злучальнай муфце, а іншы канец шланга ўстаўце ў мерную колбу (аб'ёмам каля 2 літраў).
3. Уключыце топливоподкачивающий помпа, замкнуўшы перамычкай клемы 3 і 5 на рэле топливоподкачивающего помпы, гл. папярэднюю Главу.
4. Заўважце колькасць паліва, прапампаванага помпай за адну хвіліну. Правільныя велічыні дадзены ў Спецыфікацыях.
5. Зніміце перамычку з рэле. Вярніце помпу на месца.
6. Калі прадукцыйнасць нізкая, пераканайцеся, што на кантактах рэле і на кантактах помпы напруга роўна напрузе акумулятара. (Злучальнік электраправодкі помпы даступны праз люк у падлозе.) Падзенне напругі на 1 вольт прыводзіць да зніжэння прадукцыйнасці прыблізна на 10%.
7. Калі сілкавальная напруга ў норме, а прадукцыйнасць нізкая, існуюць дзве магчымыя чыннікі: або засмечаны сілкавальны паліўны шланг (уключаючы галоўны паліўны фільтр і фільтр у прыёмнай трубцы алейнай помпы), ці няспраўны помпа. Калі помпа дэфектны, заменіце яго.
8. У заключэнне, адновіце злучэнні паліваправодаў.
Зняцце
Нататка: Пры ўсталёўцы запатрабуецца новая пракладка топливоподкачивающего помпы.
9. Зніміце паліўны бак як апісана ў Кіраўніку 11.
10. Адлучыце паліўны шланг і шматкантактны злучальнік ад верхняй часткі помпы (гл. ілюстрацыю).
9.10. Адлучыце паліўны шланг (А) і шматкантактны злучальнік (У) ад верхняй часткі топливоподкачивающего помпы.
11. Адкруціце і зніміце кальцавую гайку, затым дастаньце помпу. Прыбярыце ўшчыльненне (гл. ілюстрацыі).
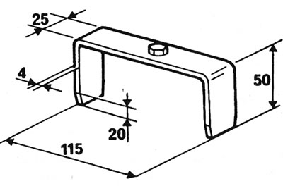
9.11а. Памеры прылады для адкручвання колцавай гайкі (у мм).
9.11b. Адкруціце колцавую гайку, выкарыстоўваючы рэгуляваны ключ.
9.11с. Зніміце кальцавую гайку...
9.11d....затым выміце помпу...
9.11е....і прыбярыце ўшчыльненне. Заўважце становішча прарэзы (адзначана стрэлкай).
12. Прыслабце клямары. Запомніце правільную арыентоўку праводкі, затым адлучыце яе ад помпы.
Ўстаноўка
13. Вырабляйце ўстаноўку ў зваротным парадку. Выкарыстоўвайце новае ўшчыльненне, і (калі магчыма) зацісніце кальцавую гайку намаганнем зацяжкі, рэгламентаваным Спецыфікацыямі.
