Заўвага: Перш чым пачаць працу, гл. папярэджанне ў Раздзел 1.
Зняцце
1. Адлучыце ад акумулятара адмоўны провад. Нахіліце задняе сядзенне, і зніміце вечка люка датчыка паказальніка ўзроўню паліва.
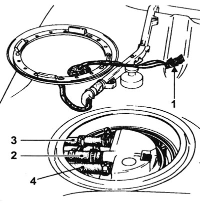
2. Адлучыце шлангі і шматкантактны злучальнік ад верхняй часткі датчыка, адзначаючы іх размяшчэнне (гл. ілюстрацыю).
8.2. Злучэнні датчыка ўзроўня паліва: 1 - Электрычны злучальнік; 2 - Які падае паліўны шланг; 3 - Зваротны паліўны шланг; 4 - Вентыляцыйны шланг.
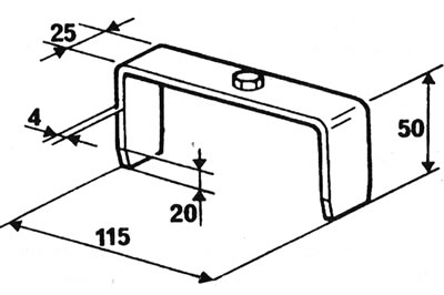
3. Адкруціце кальцавую гайку, выкарыстоўваючы інструмент, выраблены па памерах, паказаных на ілюстрацыі 9.11а ў Часткі У гэтага Раздзела.
9.11а. Памеры прылады для адкручвання колцавай гайкі (у мм).
Зніміце колцавую гайку, і дастаньце датчык.
Праверка спраўнасці
4. Перавярніце датчык: пры гэтым слухайце рух паплаўка.
5. Далучыце омметр да клем і назірайце за зменай супраціву ад становішча "пуста" да становішча "досыць". Кіруйцеся ілюстрацыяй 10/05 з Часткі У гэтага Раздзела. Павінны быць атрыманы прыблізна наступныя вынікі:
10.5. Абазначэнне клем датчыка ўзроўню паліва (датчык у вертыкальным становішчы) і схема ўнутраных злучэнняў.
| Клеммы | "Пуста" | "Поўна" |
| А - У | 10 Ом | Бясконцасць |
| А - З | 290 Ом | 0.7 Ом |
| У - З | 300 Ом | Бясконцасць |
6. Калі паказанні прыбора не змяняюцца як апісана, і калі яны змяняюцца скокамі, датчык варта замяніць.
Ўстаноўка
7. Вырабляйце ўстаноўку ў зваротным парадку. Выкарыстоўвайце новае ўшчыльняльнае кольца.
