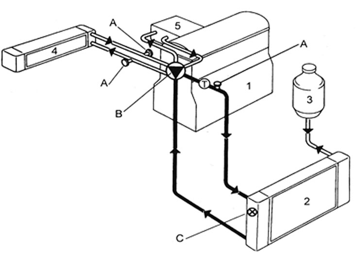
1.1а. Устройство системы охлаждения - двигатель серии С: 1 - Блок цилиндров; 2 - Радиатор; 3 - Расширительный бачок; 4 - Матрица отопителя; 5 - Впускной коллектор; А - Штуцер прокачки; В - Водяной насос; С -Термовыключатель вентилятора; Т - Термостат.
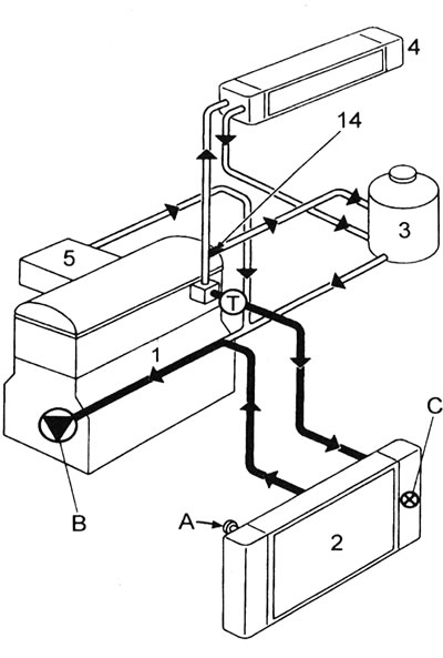
1.1b. Устройство системы охлаждения - двигатели серии E: 1 - Блок цилиндров; 2 - Радиатор; 3 - Расширительный бачок; 4 - Матрица отопителя; 5 - Впускной коллектор; 14 - Ограничитель; А - Штуцер прокачки; В - Водяной насос; С - Термовыключатель вентилятора; Т - Термостат.
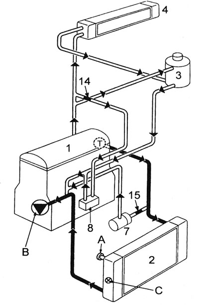
1.1с. Устройство системы охлаждения - двигатель F7P (с 16 клапанами): 1 - Блок цилиндров; 2 - Радиатор; 3 - Расширительный бачок; 4 - Матрица отопителя; 7 - Вспомогательный водяной насос; 8 - Охладитель моторного масла; 14 - Ограничитель; 15 - Ограничитель; А - Штуцер прокачки; В - Водяной насос; С - Термовыключатель вентилятора; Т - Термостат.
Оригинальная версия на нашем портале renaultbook.ru
1.1d. Устройство системы охлаждения - двигатели F3P: 1 - Блок цилиндров; 2 - Радиатор; 3 - Расширительный бачок; 4 - Матрица отопителя; 5 - Впускной коллектор; 6 - Ограничители; А - Штуцер прокачки; В - Водяной насос; С - Термовыключатель вентилятора; Т - Термостат.
2. Система функционирует следующим образом. Холодная охлаждающая жидкость подается из основания радиатора по нижнему шлангу к насосу, который нагнетает ее в каналы рубашки охлаждения двигателя. После охлаждения цилиндров, камер сгорания и седел клапанов, жидкость достигает термостата, который первоначально закрыт. Охлаждающая жидкость проходит через отопитель и впускной коллектор и возвращается к водяному насосу.
3. Когда охлаждающая жидкость нагревается до определенной температуры, термостат открывается, и жидкость поступает через верхний шланг в радиатор. Проходя через радиатор, она охлаждается потоком воздуха, образующимся при движении автомобиля, а также создаваемым электровентилятором (когда необходимо). Холодная жидкость возвращается в двигатель и цикл повторяется.
4. По мере того, как двигатель нагревается, охлаждающая жидкость расширяется, и часть ее вытесняется в расширительный бачок. На двигателях серии С используется «холодный» расширительный бачок - в нем вытесняемая жидкость накапливается и возвращается в радиатор, когда система остывает. Все остальные модели оснащены «горячим» бачком, через который охлаждающая жидкость циркулирует все время, пока работает двигатель.
5. Электровентилятор, установленный позади радиатора, управляется термовыключателем, вкрученным в радиатор. Когда охлаждающая жидкость нагревается до определенной температуры, контакты выключателя замыкаются, приводя вентилятор в действие (через реле).
6. Система охлаждения на моделях с двигателем F7P (с 16 клапанами) имеет два дополнительных компонента: охладитель моторного масла (установлен под масляным фильтром) и вспомогательный водяной насос (описан ниже в этом Разделе).
7. Системы кондиционирования воздуха и предосторожности, которые необходимо соблюдать при работе с нею, описаны в Главе 15.
