Рама з'яўляецца падставай стапеля і служыць для ўсталёўкі і замацаванні на ёй пашкоджанага аўтамабіля, сілавых стоек, нацяжных прылад і іншых прынад, якія забяспечваюць гідраўлічную праўку пашкоджаных
кузаваў. Рама выраблена са швелера вялікага памеру і ўяўляе сабой скрыжаванне коробчатого профіля з пазамі шырынёй 20 мм, размешчанымі ўздоўж і папярок усяго пляца рамы. Такая канструкцыя рамы дазваляе мацаваць на ёй аўтамабіль (кузаў), усталёўваць неабходныя прынады ў розных кропках адносна пашкоджаных участкаў які рамантуецца кузава.
Сілавая стойка з прывадам, розныя апоры, надточкі, падаўжальнікі, ланцугі і іншыя прынады прызначаны для перадачы механічных уздзеянняў ад гідрацыліндра на дэфармаваныя ўчасткі кузава.
У залежнасці ад катэгорыі пашкоджання і месца яго размяшчэння на кузаве аўтамабіль можа паступіць на стапель у зборы, часткова разабраным (без пярэдняй ці задняй падвесак) ці толькі ў выглядзе кузава.
Устаноўку і праўку аварыйнага кузава метадам расцяжкі на стапелі выконвайце ў наступным парадку:
- усталюеце аўтамабіль (кузаў) па цэнтры стэнда;
- вывесіце аўтамабіль (кузаў) на падстаўках з дапамогай дамкрата і заціскаў, усталяваных на сілавых папярочных трубах, і замацуеце кузаў за рэбры калянасці парогаў;
- прымацуеце кузаў аўтамабіля да падмуркавай рамы расчалачнымі прынадамі за апорныя кропкі сілавых папярочных труб;
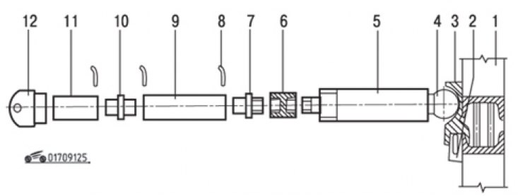
Мал. 9.125. Элементы сілавой распоркі і яе мацаванне да стапеля: 1 - рама стэнда; 2 - клін; 3 - сферычная апора; 4 – шаравая апора; 5 – гідрацыліндр; 6 - злучальная муфта; 7, 10 - перахаднік; 8 – варотак; 9, 11 - падаўжальнікі; 12 - апора
- замацуйце сферычную апору 3 (мал. 9.125) на раме 1 клінамі 2. Сабраўшы сілавую стойку, усталюеце яе ў сферычную апору 3. Даўжыня стойкі падбіраецца такі, каб яна дазволіла прыкласці неабходны расцягваючы высілак. Кірунак намаганні павінна супадаць з кірункам удару;
- замацуеце шрубцынгу або якая-небудзь іншая прылада на пашкоджаным участку кузава;
- злучыце ланцугом пашкоджаную частку кузава і падмуркавую раму праз апору сілавой стойкі;
- выпраўце кузаў, падаючы ціск у цыліндр сілавой стойкі нажной гідраўлічнай помпай.
Для праўкі кузава можа быць адначасова скарыстана да чатырох сілавых стоек з ланцугамі і прыстасаваннямі, якія павінны мець розныя спалучэнні па даўжыні і ўсталёўвацца пад рознымі кутамі ў залежнасці ад атрыманых удараў.
Прылада для праўкі дэфармаваных элементаў кузава легкавых аўтамабіляў
Мал. 9.126. Прылада для праўкі дэфармаваных элементаў кузава легкавых аўтамабіляў: 1 - сілавы рычаг; 2 - гідрацыліндр; 3 - паваротная бэлька; 4 – заціскная прылада; 5 - бэлька; 6, 7, 8, 9, 11 - заціскныя дэталі; 10, 13 - колы; 12 – гідраўлічная помпа
Прылада (мал. 9.126) фіксуецца з дапамогай заціскных прынад у любых кропках за ніжнія паліцы папярочных ці падоўжных бэлек рамы стэнда.
Праўка аварыйных кузаваў праводзіцца наступным чынам:
- усталюеце аварыйны кузаў на стапель, зафіксуйце яго непашкоджаную частку ў апорных кранштэйнах і дадаткова замацуеце за рэбры калянасці парогаў;
- вызначыце зону прац і кірунак прыкладання якія расцягваюць высілкаў, падкаціце пад стапель прылада;
- замацуеце прыладу за раму стапеля клінамі заціскных прынад;
- усталюеце і зафіксуйце стопарам у патрабаваным становішчы сілавы рычаг і паваротную бэльку;
- злучыце рычаг з дэфармаванымі дэталямі кузава з дапамогай набору ланцугоў, заціскаў і захапляльных прынад;
- ажыццявіце працоўны ход рычага з дапамогай гідраўлічнай прынады.
Гідраўлічныя і шрубавыя прынады для аднаўлення кузава
Мал. 9.127. Шрубавая прынада для аднаўлення геаметрыі кузава: 1 – шруба; 2 - варотак; 3 - утулка; У - фіксатары; Г - перахаднікі; Д - падаўжальнікі
Вінтавая прынада складаецца з шрубавага дамкрата, шрубы (мал. 9.127), варотка 2 і двух утулак 3 з правай і левай разьбой, фіксатараў У, перахаднікоў Г, некалькіх падаўжальнікаў Д, розных упораў і шрубцынг. З дапамогай гэтых элементаў выконваюцца працы па выпраўленні перакосаў у маторным адсеку, багажніку, усярэдзіне салона кузава, праёмаў дзвярэй.
Мал. 9.128. Гідраўлічнае прыстасаванне для аднаўлення геаметрыі кузава: 1 – гідраўлічная помпа; 2 - шланг; 3 - гідраўлічны цыліндр
Гідраўлічнае прыстасаванне (мал. 9.128) складаецца з набору аснасткі, які ўключае гідраўлічны помпа, шланг і шэраг падаўжальнікаў. Да канцоў падаўжальнікаў з дапамогай фіксатараў далучаюць розныя перахаднікі ці апоры.
