Ремни привода навесного оборудования
Замена ремней привода навесного оборудования
Внимание:
- При выполнении работ использовать защитные перчатки.
- Во избежание повреждения шкива коленчатого вала запрещается запускать двигатель со снятыми ремнями привода навесного оборудования.
- Заменять новыми после каждого снятия приводные ремни, шкив коленчатого вала и болт крепления шкива коленчатого вала.
1. Поместить автомобиль на двустоечный подъемник.
2. Отсоединить отрицательную клемму аккумуляторной батареи.
3. Отвернуть болты крепления и снять защитный поддон двигателя.
4. Снять переднее правое колесо с автомобиля.
5. Снять передний правый подкрылок.
Версии с системой кондиционирования и гидроусилителем рулевого управления
6. Отвернуть болт фиксированного ролика.
7. С помощью специального инструмента (Mot. 1368) отвернуть болт (1) натяжного ролика и снять приводной ремень (2).

Версии с системой кондиционирования без гидроусилителя рулевого управления
8. С помощью специального инструмента (Mot. 1368) отвернуть болт (1) натяжного ролика и снять приводной ремень (2).

Продолжение для всех версий
9. Срезать ремень привода генератора (3).

10. Отвернуть болт (4) и снять защиту маховика (5).

11. Установить приспособление для фиксации маховика (Mot. 582-01) (6).

12. Отвернуть болт (7) и снять шкив привода навесного оборудования.

13. Очистить канавки нового шкивов коленчатого вала щеткой для удалена любых отложений.
Внимание: Использовать только щетку со щетиной из пластика или некоррозийных металлов (например, меди).

Версии с системой кондиционирования и гидроусилителем рулевого управления
19. Установить новый приводной ремень согласно приведенной на рисунке схеме.
11. Коленчатый вал. 12. Насос гидроусилителя рулевого управления. 13. Компрессор кондиционера. 14. Натяжной ролик. 15. Фиксированный ролик. М. Точка проверки натяжения приводного ремня
20. Установить новый фиксированный ролик и затянуть крепежный болт.
21. Установить новый натяжной ролик и затянуть крепежный болт.
Версии с системой кондиционирования без гидроусилителя рулевого управления
22. Установить новый приводной ремень согласно приведенной на рисунке схеме.
16. Коленчатый вал. 17. Компрессор кондиционера. 18. Натяжной ролик. М. Точка проверки натяжения приводного ремня.
23. Установить новый натяжной ролик и затянуть крепежный болт.
Продолжение для всех версий
24. Проверить и отрегулировать натяжение приводного ремня (см. соответствующий раздел ниже).
Примечание: Значение натяжения приводного ремня: 219 Гц ±4 Гц.
25. Затянуть болт натяжного ролика моментом 44 Н·м с помощью специального инструмента для затяжки болта эксцентрикового натяжного ролика (Mot. 1368) (19).

26. Провернуть коленчатый вал двигателя на три оборота по часовой стрелке (со стороны привода газораспределительного механизма) для усадки ремня привода навесного оборудования.
27. Снова проверить натяжение природного ремня. Если натяжение не соответствует норме, повторить регулировку.
28. Установить защиту ремня привода навесного оборудования.
29. Дальнейшая установка производится в порядке, обратном снятию.
Проверка натяжения ремня привода навесного оборудования
Частотомер Mot.1715 или частотный индикатор Mot. 1715 позволяют измерить значение натяжения ремня привода навесного оборудования в процессе поиска причины неисправности или при замене приводного ремня.
Необходимо соблюдать рекомендуемое производителем значение натяжения приводного ремня, поскольку оно напрямую влияет на срок службы системы привода.
Несоответствующее натяжение приводного ремня может стать причиной шумной работы, падения мощности, самопроизвольных остановок двигателя или даже серьезных повреждений двигателя.
Процедура проверки
Примечание:
- Приборы измеряют частоту колебаний установленного приводного ремня. Частота колебаний является той физической величиной, которая позволяет достаточно точно определить правильность натяжения приводного ремня.
- Измерения не должны производиться только одним датчиком, второй датчик используется в качестве эталонного, поэтому он должен располагаться за пределами области измерения.
- Оба датчика могут использоваться как в качестве измерительного, так и в качестве эталонного.
- Диапазон измерения: 30-520 Гц.
- Погрешность:±1 Гц < 100 Гц и 1% > 100 Гц.
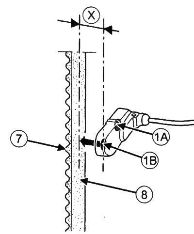
Прибор Mot.1505
Прибор Mot. 1505:
1. Считывающая головка с двумя датчиками (1А и 113). 2. Блок отображения. 3. Калибровочный частотный генератор (512И Гц) встроенный в блок отображения 4. Выключатель питания. 5. Проверочный выключении, для калибровки оборудования.
1. Включить прибор с помощью выключателя (4).
2. Поместить считывающую головку (1) напротив участка приводного ремня, где должно производиться измерение (см. иллюстрацию в разделе "Замена ремней привода навесного оборудования" выше). Поместить считывающую головку (1) на расстоянии (X), составляющем от 5 до 10 мм от ремня. Измерение может производится с любой стороны приводного ремня (7 или 8).

Примечание: Можно использовать как датчик (1А), так и датчик (1В). При этом, пока используется один из датчиков, второй должен находиться вне зоны измерения. Одновременное измерение частоты двумя датчиками не допустимо.



3. Пальцем заставив приводной ремень вибрировать, измерить частоту колебаний.

Примечание: Процесс измерения частоты колебаний подтверждается звуковым сигналом прибора.
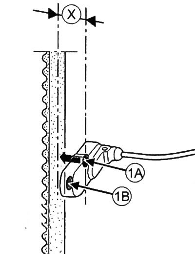
Прибор Mot.1715
Прибор Mot.1715:
9. Считывающая головка с одним датчиком (9А). 10. Выключатель питания. 11. Дисплей.
1. Включить прибор с помощью выключателя (10).
2. Поместить считывающую головку (9) напротив участка приводного ремня, где должно производиться измерение (см. иллюстрацию в разделе "Замена ремней привода навесного оборудования" выше). Поместить считывающую головку (1) на расстоянии (X), составляющем от 5 до 10 мм от ремня. Измерение может производится с любой стороны приводного ремня (12 или 13).

3. Пальцем заставив приводной ремень вибрировать, измерить частоту колебаний.

Примечание: Процесс измерения частоты колебаний подтверждается звуковым сигналом прибора.
Калибровка проверочного прибора Mot. 1505
Примечание:
- Необходимо производить калибровку проверочного оборудования ежемесячно.
- Калибровочный частотный генератор (3), встроенный в блок отображения (2), позволяет производить настройку проверочного прибора.
1. Включить прибор, нажав выключатель (4).
2. Поместить датчик (1 А) на калибровочный частотный генератор (3).
3. Нажать на проверочный выключатель (5).
4. Считать значение с дисплея прибора.
5. Аналогичным образом проверить датчик (1 В).
6. Если полученное значение для обоих датчиков отличается от 512±1 Гц, необходимо связаться с представителем производителя прибора для проведения его обслуживания.
