Если педаль «не проваливается», следует проверить воздушный фильтр усилителя. Для этого в салоне у педали тормоза снимите резиновую крышку в задней части усилителя и сдвиньте крышку по штоку.
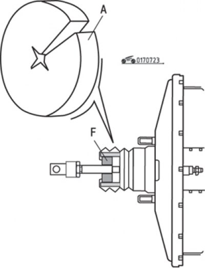
Рис. 7.23. Замена воздушного фильтра усилителя тормозов: А – зона надреза воздушного фильтра; F – место установки воздушного фильтра
С помощью отвертки, руководствуясь рис. 7.23, извлеките старый воздушный фильтр. Затем, сделав разрез в новом фильтре, установите его на положенное место, следя за тем, чтобы он перекрыл все отверстия. Установите резиновую крышку и вновь проверьте работу усилителя.
Рис. 7.24. Обратный клапан усилителя тормозов: 1 – клапан; 2 – резиновый уплотнитель
При неудовлетворительном результате попробуйте заменить обратный клапан усилителя. Для этого отсоедините вакуумный шланг от вакуумного усилителя. Вытяните обратный клапан (рис. 7.24), вращая его, чтобы извлечь из резинового уплотнителя.
Продуйте клапан, воздух должен проходить только в одном направлении – со стороны усилителя. Если клапан не продувается или продувается в обоих направлениях, замените его. Проверьте состояние резинового уплотнителя. Соберите узел, присоедините вакуумный шланг и проверьте работу усилителя.
Если усилитель снова не работает, замените его, так как ремонтного комплекта деталей фирма не поставляет.
Ссылка на источник находится на: RenaultBook
