- адчыніце дзверы;
- падапрыце знізу дзверы стойкай, усталяваўшы мяккую пракладку пад дзверы;
- адлучыце провад ад адмоўнай клемы акумулятарнай батарэі;
Мал. 9.29. Адлучэнне ад бакавых дзвярэй гумовага ўшчыльнення
- раз'яднайце кантактны раз'ём, папярэдне адлучыўшы ад дзвярэй гумовае ўшчыльненне (мал. 9.29);
Мал. 9.30. Ніт мацавання абмежавальніка дзвярэй
- вывярніце ніт мацавання абмежавальніка адчынення дзвярэй (мал. 9.30);
Мал. 9.31. Зняцце стопарнага кольца з восі завесы бакавой дзверы
Мал. 9.32. Выманне восі з завесы бакавых дзвярэй з дапамогай вильчатого здымніка
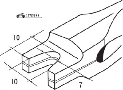
- папытаеце памагатага прытрымаць дзверы, зніміце стопорные кольцы восяў дзвярных завес (мал. 9.31). З дапамогай малатка і вильчатого здымніка выбіце восі завес дзверы, зніміце дзверы (мал. 9.32). Эскіз вильчатого здымніка прыведзены на мал. 9.33.
Артыкул перадрукаваны з вэб-сайта RenaultBook.ru
Мал. 9.33. Вільчасты здымнік для восяў дзвярэй
Дзвярныя завесы прывараны да дзвярной рамы і стоек кузава, таму становішча дзвярэй адрэгуляваць нельга.
Зачыненне дзвярэй можна рэгуляваць, змяняючы становішча зашчапкі замка на стойцы кузава з дапамогай падыходнага шасцікантовіка TORX.
Усталёўку дзвярэй праводзіце ў парадку, зваротным зняцці.
