2. Перамясціце рычаг выбару рэжыму руху ў салоне ў становішча "D" (гл. ілюстрацыю).
02/02 Кампаненты механізму выбару перадачы: 1 - Крапежныя клямкі тросіка; 2 - Рычаг выбару рэжыму руху; 3 - Мантажныя гайкі зборкі; 5 - Кажух шарнірнага вузла рычага выбару рэжыму руху; 6 - Ахоўная крышка; 7 - Наканечнікі тросіка; 8 - Абмежавальнік тросіка; 9 - Кранштэйны рэгулявання даўжыні тросіка; 10 - Шаравой шарнір мацавання; 12 - Рэгулявальны ніт.
3. Працуючы пад аўтамабілем, зніміце ахоўнае вечка з-пад рычага выбару рэжыму руху. Адлучыце наканечнік тросіка ад рычага.
4. Упэўніцеся, што працоўны рычаг на трансмісіі знаходзіцца ў становішчы "D". Калі неабходна, перамесціце рычаг у гэтае становішча.
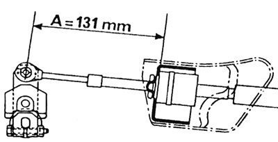
5. Пераканайцеся, што адлегласць паміж наканечнікам тросіка і кранштэйнам яго кажуха складае 131 мм (гл. ілюстрацыю).
2.5. Рэгуляванне тросіка пераключэння рэжыму руху.
Калі гэта не так, прыслабце мантажную гайкі кранштэйна і перамесціце кранштэйн у патрэбнае становішча. Зацісніце гайкі.
6. Працуючы ў салоне, зніміце ахоўны чахол рычага выбару рэжыму руху. Прыслабце чатыры рэгулявальных шрубы, якія мацуюць кажух шарнірнага вузла рычага да размешчанай пад ім зборцы (гл. ілюстрацыю).
2.6. Кажух шарнірнага вузла рычага выбару рэжыму руху на зборцы механізма выбару перадачы. Рэгулявальныя шрубы адзначаны стрэлкамі.
Выраўнуйце пазнаку рычага з становішчам "D", затым зацісніце шрубы і ўсталюеце ахоўны чахол.
7. Прыслабце абмежавальнік кажуха тросіка, павярнуўшы яго на чвэрць абарачэння. Пераканайцеся, што тросік перамяшчаецца свабодна.
8. Падлучыце тросік да падставы рычага выбару рэжыму руху і зацісніце абмежавальнік, павярнуўшы яго на чвэрць абарачэння.
9. Усталюйце ахоўнае вечка зборкі рычага.
10. Упэўніцеся, што рычаг выбару рэжыму руху перамяшчаецца свабодна і што стартар спрацоўвае толькі ў палажэннях "Р" і "N". Праверце таксама, што функцыя "Park" працуе правільна. Невялікага рэгулявання можна дамагчыся, павярнуўшы абмежавальнік кажуха тросіка на чвэрць абарачэння, а затым выцягнуўшы або ўштурхнуўшы тросік як патрабуецца. Ізноў зацісніце абмежавальнік.
11. Апусціце аўтамабіль на зямлю.
