Нататка: Перш чым прыступаць да працы, гл: Папярэджанне, дадзенае ў пачатку Раздзел 6.
Зняцце
1. Зніміце вечка бачка галоўнага цыліндру, адключыўшы злучальнік электраправодкі датчыка, і адпампуйце з бачка тармазную вадкасць. У якасці альтэрнатывы, адкрыйце любую зручную пару штуцэраў прапампоўкі (па адным у кожным контуры) і мякка націсніце некалькі разоў на тармазную педаль, каб зліць вадкасць (гл. Главу 6).
Заўвага: Не адпампоўвайце вадкасць ротам, паколькі яна атрутная; выкарыстоўвайце шпрыц або старую гумовую грушу.
2. Зніміце бачок з галоўнага цыліндра, пацягнуўшы яго ўверх.
3. Абатрыце вобласць вакол злучальных муфт тармазных трубак на сценцы галоўнага цыліндру і падкладзяце пад муфты рыззё, каб улавіць рэшткі вадкасці. Пазначце размяшчэнне злучальных муфт, затым адкруціце злучальныя гайкі і акуратна выміце трубкі. Закаркуйце канцы трубак і адтуліны галоўнага цыліндру, каб звесці да мінімуму страту тармазной вадкасці і прадухіліць пранікненне ў сістэму бруду. Змыйце з кампанентаў усю разлітую вадкасць лядоўні вадой.
4. Прыслабце і зніміце дзве гайкі, якія мацуюць галоўны цыліндр да блока вакуумнага ўзмацняльніка, затым выміце цыліндр з маторнага адсека. Зніміце колцавае ўшчыльненне з задняй часткі галоўнага цыліндру - яно падлягае замене.
5. Ушчыльненні і ўнутраныя кампаненты галоўнага цыліндру, у адрозненне ад мантажных ушчыльненняў бачка, не прадаюцца асобна, таму калі яны пашкоджаны, заменіце цыліндр у зборы. Колцавае ўшчыльненне, усталяванае паміж галоўным цыліндрам і вакуумным узмацняльнікам, павінна замяняцца кожны раз, калі блок выдалены.
Ўстаноўка
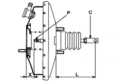
6. Перад усталёўкай цыліндру пераканайцеся, што адлегласць паміж канцом штангі-штурхача, звернутым да галоўнага цыліндру, і перадпакоя часткай узмацняльніка складае 22.3 мм (гл. ілюстрацыю 3.9).
3.9. Рэгуляванне даўжыні штурхача ўзмацняльніка: З - Відэлец штангі-штурхача; L - 110 мм; Р - Гайка штангі-штурхача; X - 22.3 мм.
Калі неабходна, адрэгулюйце гэтую адлегласць з дапамогай гайкі "Р".
7. Счысціце ўвесь бруд з кантактных паверхняў галоўнага цыліндру і ўзмацняльніка. Усталюеце новае колцавае ўшчыльненне ў канаўку нагалоўным цыліндры.
8. Усталюеце галоўны цыліндр на ўзмацняльнік, сочачы за тым, каб штанга-штурхач патрапіла ў цыліндр цэнтральна. Усталюеце мантажныя гайкі галоўнага цыліндру і зацісніце іх высілкам зацяжкі, рэгламентаваным Спецыфікацыямі.
9. Абатрыце злучальныя муфты тармазных трубак, затым усталюеце іх на парты галоўнага цыліндру. Зацісніце злучальныя гайкі намаганнем зацяжкі, рэгламентаваным Спецыфікацыямі.
10. Акуратна выраўнуйце бачок з мантажнымі ўшчыльненнямі і ўпіхніце яго ў працоўнае становішча.
11. Запоўніце бачок галоўнага цыліндру новай вадкасцю і прапампуйце тармазную гідрасістэму як апісана ў Раздзел 6.
